2024-09-06
335次
网站运营
1、需求场景
某昆山客户公司目前只有一位人事经理在处理员工的考勤排班事宜,不能提前预知员工上什么班次,只能够根据企业订单的排产情况来安排员工的班次。其中因各种情况不可控且数据量较大,员工排班、调班的操作频繁,同时还需要结合员工的打卡情况,确认员工上的什么班次,再进行员工的调班操作。原有排班管理系统的标准调班单,不能看到员工打卡数据,人事判定起来较为困难,来回切操作界面效率比较低下,需要花费大量时间处理此项问题。

2、解决方案
通过在雷竞技raybet最新官网DHG人力资源系统在工时日报定制开发批量调班功能,一方面能够展示员工考勤排班的数据,另一方面增加批量调班的便捷功能,具体如下:
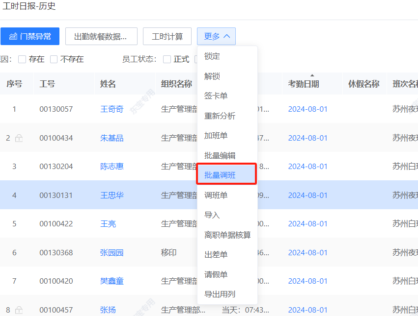
在工时日报模块添加"批量调班"按钮,可以在工时日报列表选择多人,用于批量处理员工调班。

添加"日期方式"选项,若选择"单天调班"则维护某个或某几个具体日期的班次,变更班次;若选择"持续调班",开始日期默认为工时日报列表选择记录的考勤日期,结束日期不填写,表示从开始日期开始,一直根据新的班次进行考勤计算;结束日期填写,表示从开始日期至结束日期,这段期间内,根据新的班次进行考勤计算。


维护好调班事由,及人员后则实现批量调班的效果。
3、应用价值
通过对排班管理模块功能的开发,大大减少了人工排班成本,客户公司能够根据数据提前调整排班情况,提高流程管理效率,同时增加了系统的便捷性和用户的体验感。
对客户公司排班问题的定制化处理,使得原来每月累计需要16小时左右的工作量,缩短为10小时左右可以处理完成,HR和员工满意度大幅提升。